Сколько их? Куда их гонят?
Н. Гендал и Х. Халабурда предполагают{36}, что конкуренция на рынке электронных валют не приведет к ситуации «победитель забирает все» (то есть не будет так, что одна цифровая валюта вытеснит все остальные), несмотря на существование сильных сетевых эффектов для первоначально успешной электронной валюты. Они могут проявиться на первых порах, но в конечном счете слабеют, поскольку роль валюты как финансового актива (по сравнению с ее ролью как средства обмена) становится более важной.
О популяризации блокчейна свидетельствует огромное разнообразие криптовалют, альтернатив биткоина, называемых альткоинами (altcoins).

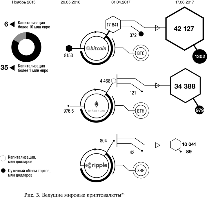
Мы сдавали книгу в редакцию с данными на 1 апреля 2017 года{37}. Однако реальность оказалась столь динамичной, что в последний момент мы решили добавить данные за последнюю дату – 17 июня, – настолько серьезен оказался рост показателей.
Рынок весьма динамичен. Так, еще в ноябре 2015 года, по расчетам Д. А. Кочергина{38}, только 35 децентрализованных схем виртуальных валют имели капитализацию более 1 млн евро, и всего шесть из них – капитализацию выше 10 млн евро. К числу виртуальных валют с наибольшей рыночной капитализацией в тот момент относились биткоин, Litecoin и Ripple.
{39}

По состоянию на 29 мая 2016 года{40} тройка лидеров была такова: биткоин с капитализацией 8153 млн долларов, Ethereum – 976,5 млн долларов и Litecoin – 219 млн долларов. Отсюда видно, что в пелетоне у криптовалют есть явный чемпион (биткоин), однако за остальные лидерские места идет ожесточенная схватка.
Ряд исследователей ранжируют криптовалюты по другим признакам. Так, сооснователь Cyber.Fund Дмитрий Стародубцев заявил на CryptoForum Russia 2016 в ноябре 2016 года, что на данный момент существует 19 000 полных нод (узлов), большая часть из которых работают в сети биткоина. Кроме того, развитие блокчейн-систем во многом определяет количество транзакций в сутки. По данным Cyber.Fund, по этому показателю на первом месте находится Ripple, биткоин – на втором, Ethereum – на третьем. Все остальные криптовалюты занимают около 3 % в общем количестве транзакций.
Любопытны в этой связи данные о количестве регистраций наименований криптовалют в период 2009–2016 годов: 2009 – 1 регистрация, 2010 – 0, 2011 – 4, 2012 – 6, 2013 – 120, 2014 – 402, 2015 – 64, 2016 – 13{41}.
По мнению Е. И. Дюдиковой, при оценке популярности криптовалют стоит учитывать целый ряд факторов, в том числе финансовую грамотность населения и развитость инфраструктуры в каждой отдельной стране{42}.
Более 800 000 книг и аудиокниг! 📚
Получи 2 месяца Литрес Подписки в подарок и наслаждайся неограниченным чтением
ПОЛУЧИТЬ ПОДАРОКДанный текст является ознакомительным фрагментом.