3.6.1. Человеческие ресурсы компаний
В настоящее время в холдинге работает порядка 130–140 человек. Цифра очень нестабильная, поскольку, во-первых, наблюдается высокий уровень так называемых нетрудовых отпусков (декрет и т. д.), а во-вторых, в связи с длительностью «северных» отпусков одномоментно застать всех сотрудников на работе крайне сложно. Вероятно, поэтому в итоговом количественном опросе приняло участие на 12 респондентов меньше, чем изначально было запланировано.
На основе опросов мы составили поло-возрастную структуру сотрудников холдинга. В целом персонал можно охарактеризовать как молодой: около 2/3 сотрудников холдинга моложе 40 лет. Самая многочисленная возрастная группа – 30–39 лет (рис. 3.9).

Рис. 3.9. Возрастная структура сотрудников холдинга, чел.
В более молодых возрастных категориях явно преобладают женщины, в категории среднего возраста (40–49 лет) – мужчины, а во категории 50–60 лет – женщины (рис. 3.10).
При этом самыми «молодыми» с точки зрения возраста сотрудников оказались ТРК «Карта плюс» и ТРК «Кладезь», а самыми «старыми» – ТРК «Параллель» и редакция газеты «Барский газовик» (рис. 3.11).
По своему должностному положению около 20 % сотрудников являются менеджерами среднего звена (находятся в подчинении и имеют в подчинении людей), около 75 % – специалисты (рис. 3.12).

Рис. 3.10. Поло-возрастная структура сотрудников холдинга, чел.

Рис. 3.11. Поло-возрастная структура разных компаний холдинга, чел.

Рис. 3.12. Доля категорий персонала в холдинге, %
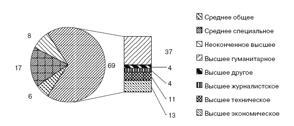
Большинство сотрудников (в основном творческих) холдинга имеют профильное гуманитарное или журналистское образование (рис. 3.13). В то же время необходимо отметить следующее: лишь четыре респондента (4 %) отметили, что имеют высшее журналистское образование. Это говорит о высоком потенциале для образования и повышения квалификации нынешних сотрудников, так как многие из них не работают по своему прямому профилю.

Рис. 3.13. Распределение сотрудников холдинга по уровню образования, %
Гуманитарное и журналистское образование преобладает у редакторского персонала. Из 18 опрошенных корреспондентов и редакторов (без учета ведущих редакторов, выпускающих и т. д.) у 14 высшее гуманитарное образование, а лишь двое имеют журналистское. Гуманитарное образование способствует формированию навыков работы с текстом, однако отсутствие у многих именно журналистской составляющей в компетенциях может быть причиной слабого проектирования материалов, неумения их структурировать и доносить информацию.
Среди операторов преобладают сотрудники со средним специальным образованием. Из 11 опрошенных операторов у двоих – неоконченное высшее образование и еще у двоих – высшее. Остальные – обладатели среднего специального или общего образования. Следовательно, слабым местом может быть отсутствие драматургичности видеоряда, восприятие съемки как технического процесса.
По стажу работы в компании сотрудники примерно поровну делятся на две устойчивые группы – относительные новички и те, кто работает в компании более пяти лет. Очевидно, что существует костяк постоянных сотрудников, но в то же время именно за последние один-три года в компанию пришли работать примерно 35 % нынешнего персонала холдинга (рис. 3.14). Наличие нового персонала при сохранении «консерваторов» требует новых подходов к управлению и мотивации «новичков» с тем, чтобы не превращать «молодой состав» в экспериментальный полигон, в котором постоянно происходит ротация персонала. В этом случае все «новые идеи» будут умирать на корню из-за столкновения между «зубрами» и «новичками».

Рис. 3.14. Группировка сотрудников по стажу работы в компании, %
Очевидно, переломным моментом ротации персонала в компании являются первые три года работы сотрудника. Именно этим объясняется относительно небольшая доля сотрудников со стажем работы в компании три-пять лет, т. е. «пассажиры» (временно пришедшие на работу и не планирующие задержаться здесь надолго) обычно уходят в течение первых одного-двух лет. Как раз на третий-пятый годы работы приходятся те, кто решил надолго остаться в компании.
Наиболее молодым с точки зрения стажа работы в холдинге является коллектив ТРК «Карта плюс», а наиболее опытным и менее обновляющимся – коллектив ТРК «Параллель» (рис. 3.15).
В компании, как видно на рис. 3.16, преобладает традиционная система продвижения по карьерной лестнице: человек становится руководящим сотрудником внутри компании, приобретая стаж. Следовательно, руководителями становятся люди с большим стажем работы в компании.

Рис. 3.15. Группировка сотрудников по стажу работы в разных компаниях холдинга, чел.

Рис. 3.16. Группировка категорий персонала по стажу работы в компании, чел.
Такая модель продвижения по карьерной лестнице является традиционной для производственных предприятий, но менее характерна для новых сфер, где компетенции и профессионализм человека гораздо важнее, чем «аппаратная включенность в работу корпорации». Таким образом, практика приема на работу сразу на руководящие должности развита в недостаточной степени, что может приводить, с одной стороны, к низким компетенциям управленческого персонала (управленцем человек становится не за свои умения, а потому, что «уже долго проработал в компании»), а с другой – к демотивации и оттоку квалифицированного персонала, недавно пришедшего в компанию (который берут на «низовые должности» по принципу «пускай освоится»).
У подавляющего большинства сотрудников солидный опыт работы (пять-десять и более десяти лет) (рис. 3.17).

Рис. 3.17. Группировка сотрудников холдинга по опыту работы, чел.
Необходимо также отметить, что существенная часть персонала нарабатывает опыт внутри самой компании и не мыслит профессию вне рамок собственной компании и ее методов работы.
Данные рис. 3.18 свидетельствуют о том, что из тех, кто работает в компании один-три года, больше половины имеют рабочий опыт один-пять лет, т. е. высока вероятность того, что холдинг для них – первое место работы. То же наблюдается с теми, кто работает в компании больше пяти лет. Из них почти половина – люди, имеющие опыт работы пять-десять лет, т. е. также высока вероятность того, что для этих сотрудников их СМИ – первое место работы.

Рис. 3.18. Связь стажа работы в компании и общего опыта работы, чел.
В целом сотрудников компании можно назвать обеспеченными людьми. Согласно опросу, более половины сотрудников холдинга утверждают, что тратят на еду 25–50 % доходов своей семьи, а более 1/3 – менее 25 % (рис. 3.19).

Рис. 3.19. Доля семейного дохода, затрачиваемая сотрудниками холдинга на питание, %
Более 800 000 книг и аудиокниг! 📚
Получи 2 месяца Литрес Подписки в подарок и наслаждайся неограниченным чтением
ПОЛУЧИТЬ ПОДАРОК